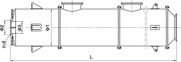
产品展示 更多产品分类 过滤设备 静态混合设备 加热设备系列 动态混合设备 消声器 纸张专用设备 管用专用小型设备 油罐附件系列 煤气管道排水器 GJX型高炉均压放散阀消声器 一、结构形式 高炉均压放散消声器系阻抗复合型,内部吸声元件可灵活更换,可与不同规格的高炉均压放散阀配套。二、适用范围 主要适用于控制高炉炉顶均压放散气体产生的动力性噪声,适用于1 0 0 0、1 2 0 0、1 3 5 0、2 5 0 0、3000、4000m3等高炉。三、规格、性能、外形尺寸 GJX型高炉均压放散阀消声器 上页下页